Единый информационный центр (3952) 560-500
ЗНС-10-5 (531) Замок накладной 3 кл. "СЕНАТ" (10)
2 130.00 рублей
В наличии на складе
Отсутсвует на складе

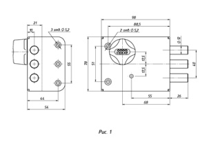
Замок накладной сувальдный с вертушкой. Предназначен для установки на деревянные двери. Засов из трех цилиндрических ригелей диаметром 12 мм, с максимальным вылетом 26 мм. Удаление ключевого отверстия - 55 мм. Количество полуоборотов ключа - 2. Габариты замка - 98х78х21 мм. Комплектация -  5 ключей, торцевая планка. Замок имеет защиту от отмычек, от высверливания и от вскрытия методом проворота. Закрывание и открывание изнутри производится вертушкой, снаружи ключом. Комплектный ключ с одной бородкой.
Характеристики
Тип продукта
Ключ-вертушка
Торговая марка
Сенат
Количество ключей
3 шт.
Цвет
AC (медь)
Назначение
Для металлических дверей
Тип механизма
Сувальдный

Добавить в корзину